Justhost四机房简单对比测试/KVM无限流量月付12元起

Justhost四机房简单对比测试/KVM无限流量月付12元起

VPSok
2019-07-14 / 0 评论 / 1,822 阅读 / 正在检测是否收录...

Justhost是一家俄罗斯VPS主机商,创立于2006年,之聚介绍始于2018年,商家提供基于KVM架构的VPS,均为无限流量的方式,有4个数据中心选择,商家今年还加入了支付宝,国内用户购买非常方便。之聚拿到了商家4个不同机房的测试主机,今天对这四个不同机房进行简单的对比测试,方便大家选择。

Justhost四个机房分别为:Adman(远东地区)、DatalineRosetelecomFiord,下面的各项对比也依照这个顺序。

ping测试

拿到IP先来一阵ping相信还是很多人的习惯,我也是先来个本地ping试试看,四个不同地区我截在一张图里并做了标注

just_ping

本地网络为成都电信,AdmanDataline优于下面两个地区

配置/IO/带宽等信息(一键脚本)

请注意4个地区的机器配置并不完全一致,高配机器在IO方面会更好,这个对比比较直观

Adman(2G套餐)

io_adman

Dataline(512M套餐)

io_data

Rosetelecom(2G套餐)

io_rose

Fiord(2G套餐)

io_fiord

四个地区中貌似IO最低的是Rosetelecom,理论上IO最好的是Dataline,虽然是512M套餐但是IO不错。带宽方面,这个一键包着重于国内上下行速度,最好应该是Adman和Dataline,最高能达到百兆。

线路(去程)测试

Adman三网去程线路(顺序为电信、联通、移动)

q_adman_d

q_adman_l

q_adman_y

Dataline三网去程测试(顺序为电信、联通、移动)

q_data_d

q_data_l

q_data_y

Rosetelecom去程测试

Rosetelecom线路移动绕德国,电信也是绕德国,联通稍微好点,这里仅列出联通去程线路截图

q_rose_l

Fiord去程测试

Fiord机房电信走德国到俄罗斯,联通走美国、德国再到俄罗斯,移动也是走德国到俄罗斯,三网全部状况差,就贴出电信去程截图,毕竟走的跳数少一些

q_fior_d

线路(回程)测试

Adman三网回程线路

-----------------------------------电信-----------------------------------
[Info] 测试路由 到 厦门电信CN2 中 ...
traceroute to 117.28.254.129 (117.28.254.129), 30 hops max, 60 byte packets
 1  45.89.228.1  0.71 ms  AS49392,AS57494  俄罗斯 新西伯利亚州 新西伯利亚 justhost.ru
 2  212.20.21.241  6.28 ms  AS12389  俄罗斯 新西伯利亚州 新西伯利亚 rt.ru
 3  87.226.183.87  41.97 ms  AS8997,AS12389  俄罗斯 莫斯科 rt.ru
 4  217.107.111.142  93.47 ms  AS12389  俄罗斯 rt.ru
 5  *
 6  *
 7  *
 8  *
 9  *
10  27.159.81.246  163.74 ms  AS133775  中国 福建 厦门 电信
11  27.159.81.214  171.65 ms  AS133775  中国 福建 厦门 电信
12  117.25.141.106  165.96 ms  AS133775  中国 福建 厦门 电信
13  *
14  *
15  117.28.254.129  155.37 ms  AS133775  中国 福建 厦门 电信
[Info] 测试路由 到 厦门电信CN2 完成 !

-----------------------------------联通-----------------------------------
[Info] 测试路由 到 浙江杭州联通 中 ...
traceroute to 101.71.241.238 (101.71.241.238), 30 hops max, 60 byte packets
 1  45.89.228.1  4.62 ms  AS49392,AS57494  俄罗斯 新西伯利亚州 新西伯利亚 justhost.ru
 2  212.20.21.241  5.70 ms  AS12389  俄罗斯 新西伯利亚州 新西伯利亚 rt.ru
 3  188.128.106.115  55.28 ms  AS8997,AS12389  俄罗斯 rt.ru
 4  188.128.15.214  112.08 ms  AS8997,AS12389  中国 北京 rt.ru
 5  219.158.16.81  100.53 ms  AS4837  中国 北京 联通
 6  219.158.18.69  129.94 ms  AS4837  中国 北京 联通
 7  219.158.107.214  121.68 ms  AS4837  中国 浙江 杭州 联通
 8  *
 9  101.69.245.162  120.97 ms  AS4837  中国 浙江 杭州 联通
10  101.71.241.238  123.90 ms  AS4837  中国 浙江 杭州 联通
[Info] 测试路由 到 浙江杭州联通 完成 !

-----------------------------------移动-----------------------------------
[Info] 测试路由 到 浙江杭州移动 中 ...
traceroute to 112.17.0.106 (112.17.0.106), 30 hops max, 60 byte packets
 1  45.89.228.1  0.96 ms  AS49392,AS57494  俄罗斯 新西伯利亚州 新西伯利亚 justhost.ru
 2  212.20.21.241  9.14 ms  AS12389  俄罗斯 新西伯利亚州 新西伯利亚 rt.ru
 3  ae46.stkm-cr4.intl.ip.rostelecom.ru (87.226.133.111)  63.79 ms  AS8997,AS12389  瑞典 斯德哥尔摩省 斯德哥尔摩 rt.ru
 4  ae1-500.cr1-stk3.ip4.gtt.net (77.67.90.96)  195.38 ms  AS3257,AS8928  瑞典 斯德哥尔摩省 斯德哥尔摩 gtt.net
 5  et-1-0-31.cr3-lax1.ip4.gtt.net (89.149.181.170)  343.60 ms  AS3257,AS8928  美国 加利福尼亚州 洛杉矶 gtt.net
 6  ip4.gtt.net (173.205.45.154)  362.82 ms  AS3257,AS8928  美国 加利福尼亚州 洛杉矶 gtt.net
 7  223.120.6.217  447.88 ms  AS58453  美国 加利福尼亚州 洛杉矶 移动
 8  223.120.12.18  299.34 ms  AS58453  中国 上海 移动
 9  221.183.55.42  287.21 ms  AS9808  中国 上海 移动
10  221.176.22.205  352.01 ms  AS9808  中国 上海 移动
11  221.176.22.33  349.28 ms  AS9808  中国 上海 移动
12  221.176.22.1  352.34 ms  AS9808  中国 上海 移动
13  *
14  *
15  *
16  112.17.0.106  340.39 ms  AS56041  中国 浙江 杭州 移动
[Info] 测试路由 到 浙江杭州移动 完成 !

Dataline三网回程线路

-----------------------------------电信-----------------------------------
[Info] 测试路由 到 厦门电信CN2 中 ...
traceroute to 117.28.254.129 (117.28.254.129), 30 hops max, 60 byte packets
 1  185.22.154.1  0.69 ms  AS51659  俄罗斯 莫斯科 justhost.ru
 2  *
 3  rt-47-msk-ix.rostelecom.ru (195.208.208.238)  34.69 ms  AS7713,AS12389  俄罗斯 莫斯科州 msk-ix.ru ripn.net
 4  87.226.181.87  30.16 ms  AS8997,AS12389  俄罗斯 莫斯科 rt.ru
 5  217.107.111.142  2.04 ms  AS12389  俄罗斯 rt.ru
 6  59.43.246.17  180.43 ms  AS4809  中国 北京 电信
 7  59.43.247.98  194.31 ms  AS4809  中国 广东 广州 电信
 8  59.43.187.153  181.79 ms  AS4809  中国 广东 广州 电信
 9  59.43.130.157  182.27 ms  AS4809  中国 广东 广州 电信
10  59.43.143.2  198.68 ms  AS4809  中国 电信
11  27.159.81.246  164.21 ms  AS133775  中国 福建 厦门 电信
12  27.159.81.198  194.84 ms  AS133775  中国 福建 厦门 电信
13  117.25.141.106  191.90 ms  AS133775  中国 福建 厦门 电信
14  *
15  *
16  117.28.254.129  200.58 ms  AS133775  中国 福建 厦门 电信
[Info] 测试路由 到 厦门电信CN2 完成 !

-----------------------------------联通-----------------------------------
[Info] 测试路由 到 浙江杭州联通 中 ...
traceroute to 101.71.241.238 (101.71.241.238), 30 hops max, 60 byte packets
 1  185.22.154.1  0.65 ms  AS51659  俄罗斯 莫斯科 justhost.ru
 2  *
 3  10.32.0.173  0.50 ms  *  局域网
 4  *
 5  *
 6  59.43.246.17  180.38 ms  AS4809  中国 北京 电信
 7  59.43.247.126  191.49 ms  AS4809  中国 上海 电信
 8  *
 9  202.97.90.58  154.21 ms  AS4134  中国 上海 电信
10  *
11  202.97.26.18  160.77 ms  AS4134  中国 浙江 杭州 电信
12  *
13  *
14  219.158.100.125  160.97 ms  AS4837  中国 联通
15  *
16  101.69.245.158  146.23 ms  AS4837  中国 浙江 杭州 联通
17  101.71.241.238  157.53 ms  AS4837  中国 浙江 杭州 联通
[Info] 测试路由 到 浙江杭州联通 完成 !

-----------------------------------移动-----------------------------------
[Info] 测试路由 到 浙江杭州移动 中 ...
traceroute to 112.17.0.106 (112.17.0.106), 30 hops max, 60 byte packets
 1  185.22.154.1  0.78 ms  AS51659  俄罗斯 莫斯科 justhost.ru
 2  *
 3  10.32.0.173  0.59 ms  *  局域网
 4  *
 5  *
 6  59.43.246.17  212.35 ms  AS4809  中国 北京 电信
 7  59.43.247.126  191.16 ms  AS4809  中国 上海 电信
 8  *
 9  202.97.90.30  142.87 ms  AS4134  中国 上海 电信
10  202.97.94.238  152.99 ms  AS4134  中国 上海 电信
11  202.97.82.18  155.83 ms  AS4134  中国 浙江 杭州 电信
12  *
13  221.183.54.41  176.74 ms  AS9808  中国 浙江 杭州 移动
14  *
15  *
16  211.138.119.58  249.07 ms  AS56041  中国 浙江 杭州 移动
17  111.1.36.42  268.44 ms  AS56041  中国 浙江 杭州 移动
18  112.17.0.106  248.93 ms  AS56041  中国 浙江 杭州 移动
[Info] 测试路由 到 浙江杭州移动 完成 !

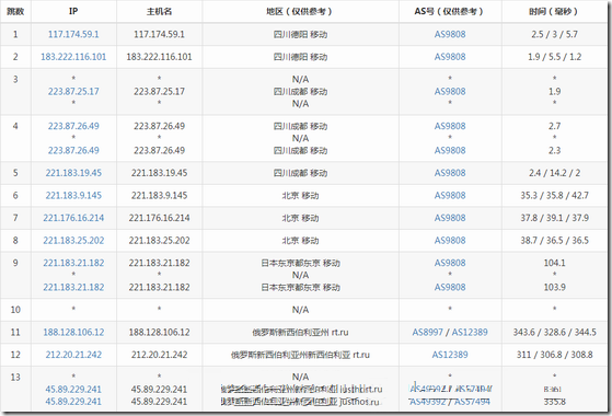
Rosetelecom三网回程线路

-----------------------------------电信-----------------------------------
[Info] 测试路由 到 厦门电信CN2 中 ...
traceroute to 117.28.254.129 (117.28.254.129), 30 hops max, 60 byte packets
 1  46.17.46.221  1.47 ms  AS51659  俄罗斯 鞑靼斯坦共和国 喀山 justhost.ru
 2  79.126.125.141  25.52 ms  AS12389  俄罗斯 鞑靼斯坦共和国 喀山 rt.ru
 3  87.226.183.87  19.45 ms  AS8997,AS12389  俄罗斯 莫斯科 rt.ru
 4  217.107.111.142  19.54 ms  AS12389  俄罗斯 rt.ru
 5  59.43.246.17  178.02 ms  AS4809  中国 北京 电信
 6  59.43.247.98  205.12 ms  AS4809  中国 广东 广州 电信
 7  *
 8  59.43.130.105  216.62 ms  AS4809  中国 广东 广州 电信
 9  59.43.143.2  211.44 ms  AS4809  中国 电信
10  27.159.81.242  199.71 ms  AS133775  中国 福建 厦门 电信
11  *
12  117.25.141.110  226.15 ms  AS133775  中国 福建 厦门 电信
13  *
14  *
15  117.28.254.129  213.02 ms  AS133775  中国 福建 厦门 电信
[Info] 测试路由 到 厦门电信CN2 完成 !

-----------------------------------联通-----------------------------------
[Info] 测试路由 到 浙江杭州联通 中 ...
traceroute to 101.71.241.238 (101.71.241.238), 30 hops max, 60 byte packets
 1  46.17.46.221  19.47 ms  AS51659  俄罗斯 鞑靼斯坦共和国 喀山 justhost.ru
 2  79.126.125.141  15.58 ms  AS12389  俄罗斯 鞑靼斯坦共和国 喀山 rt.ru
 3  ae46.stkm-cr4.intl.ip.rostelecom.ru (87.226.133.111)  35.44 ms  AS8997,AS12389  瑞典 斯德哥尔摩省 斯德哥尔摩 rt.ru
 4  ae15-xcr1.skt.cw.net (195.89.96.189)  67.89 ms  AS1273  瑞典 斯德哥尔摩省 斯德哥尔摩 vodafone.com
 5  ae32-xcr1.att.cw.net (195.2.8.206)  191.24 ms  AS1273  荷兰 北荷兰省 阿姆斯特丹 vodafone.com
 6  ae14-xcr1.hex.cw.net (195.2.28.165)  194.35 ms  AS1273  英国 伦敦 vodafone.com
 7  ae31-xcr1.ltw.cw.net (195.2.10.82)  197.17 ms  AS1273  英国 伦敦 vodafone.com
 8  et-9-1-0-xcr2.ash.cw.net (195.2.24.245)  139.68 ms  AS1273  美国 弗吉尼亚州 阿什本 vodafone.com
 9  ae5-xcr2.lax.cw.net (195.2.2.153)  198.87 ms  AS1273  美国 加利福尼亚州 洛杉矶 vodafone.com
10  china-unicom-gw.lax.cw.net (195.2.22.54)  236.65 ms  AS1273  美国 加利福尼亚州 洛杉矶 vodafone.com
11  219.158.96.25  248.00 ms  AS4837  中国 北京 联通
12  219.158.3.145  234.44 ms  AS4837  中国 北京 联通
13  219.158.18.69  231.94 ms  AS4837  中国 北京 联通
14  219.158.107.210  255.29 ms  AS4837  中国 浙江 杭州 联通
15  *
16  101.69.245.158  262.61 ms  AS4837  中国 浙江 杭州 联通
17  101.71.241.238  253.05 ms  AS4837  中国 浙江 杭州 联通
[Info] 测试路由 到 浙江杭州联通 完成 !

-----------------------------------移动-----------------------------------
[Info] 测试路由 到 浙江杭州移动 中 ...
traceroute to 112.17.0.106 (112.17.0.106), 30 hops max, 60 byte packets
 1  46.17.46.221  2.56 ms  AS51659  俄罗斯 鞑靼斯坦共和国 喀山 justhost.ru
 2  79.126.125.141  0.94 ms  AS12389  俄罗斯 鞑靼斯坦共和国 喀山 rt.ru
 3  ae47.frkt-cr2.intl.ip.rostelecom.ru (217.107.68.1)  54.00 ms  AS12389  德国 黑森州 法兰克福 rt.ru
 4  ae1-500.cr1-stk3.ip4.gtt.net (77.67.90.96)  54.50 ms  AS3257,AS8928  瑞典 斯德哥尔摩省 斯德哥尔摩 gtt.net
 5  et-1-0-31.cr3-lax1.ip4.gtt.net (89.149.181.170)  214.22 ms  AS3257,AS8928  美国 加利福尼亚州 洛杉矶 gtt.net
 6  ip4.gtt.net (173.205.45.154)  219.56 ms  AS3257,AS8928  美国 加利福尼亚州 洛杉矶 gtt.net
 7  223.120.6.217  222.00 ms  AS58453  美国 加利福尼亚州 洛杉矶 移动
 8  *
 9  221.183.55.50  350.85 ms  AS9808  中国 上海 移动
10  221.183.25.193  359.05 ms  AS9808  中国 上海 移动
11  221.183.23.25  327.67 ms  AS9808  中国 上海 移动
12  221.176.22.1  328.51 ms  AS9808  中国 上海 移动
13  *
14  *
15  *
16  *
17  112.17.0.106  322.19 ms  AS56041  中国 浙江 杭州 移动
[Info] 测试路由 到 浙江杭州移动 完成 !

Fiord三网回程线路

-----------------------------------电信-----------------------------------
[Info] 测试路由 到 厦门电信CN2 中 ...
traceroute to 117.28.254.129 (117.28.254.129), 30 hops max, 60 byte packets
 1  2.56.242.1  2.39 ms  AS49392  俄罗斯 莫斯科 justhost.ru
 2  10.11.12.37  2.76 ms  *  局域网
 3  91.135.147.49  0.57 ms  AS8595  俄罗斯 莫斯科 westcall.ru
 4  asr-m9.westcall.ru (195.94.226.109)  1.90 ms  AS8595  俄罗斯 莫斯科 westcall.ru
 5  rt-47-msk-ix.rostelecom.ru (195.208.208.238)  1.97 ms  AS7713,AS12389  俄罗斯 莫斯科州 msk-ix.ru ripn.net
 6  87.226.181.87  1.93 ms  AS8997,AS12389  俄罗斯 莫斯科 rt.ru
 7  217.107.111.142  1.96 ms  AS12389  俄罗斯 rt.ru
 8  59.43.246.17  179.41 ms  AS4809  中国 北京 电信
 9  59.43.247.98  179.38 ms  AS4809  中国 广东 广州 电信
10  *
11  59.43.130.157  181.30 ms  AS4809  中国 广东 广州 电信
12  59.43.98.210  196.95 ms  AS4809  中国 福建 厦门 电信
13  27.159.81.246  210.04 ms  AS133775  中国 福建 厦门 电信
14  *
15  117.25.141.110  210.59 ms  AS133775  中国 福建 厦门 电信
16  *
17  *
18  117.28.254.129  207.29 ms  AS133775  中国 福建 厦门 电信
[Info] 测试路由 到 厦门电信CN2 完成 !

-----------------------------------联通-----------------------------------
[Info] 测试路由 到 浙江杭州联通 中 ...
traceroute to 101.71.241.238 (101.71.241.238), 30 hops max, 60 byte packets
 1  2.56.242.1  1.31 ms  AS49392  俄罗斯 莫斯科 justhost.ru
 2  10.11.12.37  3.36 ms  *  局域网
 3  91.135.147.49  0.91 ms  AS8595  俄罗斯 莫斯科 westcall.ru
 4  asr-m9.westcall.ru (195.94.226.102)  1.41 ms  AS8595  俄罗斯 莫斯科 westcall.ru
 5  79.104.17.229  1.71 ms  AS3216  俄罗斯 beeline.ru
 6  mx01.Stockholm.gldn.net (79.104.225.6)  21.79 ms  *  俄罗斯 beeline.ru
 7  et-3-0-2-xcr1.skt.cw.net (195.89.102.45)  46.27 ms  AS1273  瑞典 斯德哥尔摩省 斯德哥尔摩 vodafone.com
 8  ae32-xcr1.att.cw.net (195.2.8.206)  176.62 ms  AS1273  荷兰 北荷兰省 阿姆斯特丹 vodafone.com
 9  ae14-xcr1.hex.cw.net (195.2.28.165)  176.16 ms  AS1273  英国 伦敦 vodafone.com
10  ae17-xcr1.ltw.cw.net (195.2.28.150)  176.33 ms  AS1273  英国 伦敦 vodafone.com
11  et-9-1-0-xcr2.ash.cw.net (195.2.24.245)  125.54 ms  AS1273  美国 弗吉尼亚州 阿什本 vodafone.com
12  ae5-xcr2.lax.cw.net (195.2.2.153)  174.94 ms  AS1273  美国 加利福尼亚州 洛杉矶 vodafone.com
13  as4837-gw-lax.cw.net (195.2.22.54)  181.91 ms  AS1273  美国 加利福尼亚州 洛杉矶 vodafone.com
14  219.158.96.25  329.95 ms  AS4837  中国 北京 联通
15  219.158.3.49  343.04 ms  AS4837  中国 北京 联通
16  219.158.18.69  324.93 ms  AS4837  中国 北京 联通
17  219.158.107.214  362.12 ms  AS4837  中国 浙江 杭州 联通
18  *
19  101.69.245.162  356.39 ms  AS4837  中国 浙江 杭州 联通
20  101.71.241.238  360.33 ms  AS4837  中国 浙江 杭州 联通
[Info] 测试路由 到 浙江杭州联通 完成 !

-----------------------------------移动-----------------------------------
[Info] 测试路由 到 浙江杭州移动 中 ...
traceroute to 112.17.0.106 (112.17.0.106), 30 hops max, 60 byte packets
 1  2.56.242.1  1.25 ms  AS49392  俄罗斯 莫斯科 justhost.ru
 2  10.11.12.37  0.37 ms  *  局域网
 3  msk-m9-b1-ae30-vlan449.fiord.net (62.140.243.62)  3.97 ms  AS28917  俄罗斯 莫斯科 fiord.ru
 4  frankfurt-nt-b1-ae5-vlan532.fiord.net (62.140.243.39)  42.23 ms  AS28917  德国 黑森州 法兰克福 fiord.ru
 5  ffm-b1-link.telia.net (62.115.63.109)  50.45 ms  AS1299  德国 黑森州 法兰克福 telia.com
 6  ffm-bb2-link.telia.net (62.115.116.161)  44.21 ms  AS1299  德国 黑森州 法兰克福 telia.com
 7  ffm-b5-link.telia.net (62.115.114.91)  42.84 ms  AS1299  德国 黑森州 法兰克福 telia.com
 8  *
 9  223.120.10.121  173.06 ms  AS58453  德国 黑森州 法兰克福 移动
10  223.120.16.10  301.50 ms  AS58453  中国 移动
11  *
12  *
13  *
14  221.176.22.9  348.24 ms  AS9808  中国 上海 移动
15  221.176.22.1  352.39 ms  AS9808  中国 上海 移动
16  *
17  221.183.11.6  361.24 ms  AS9808  中国 浙江 杭州 移动
18  *
19  *
20  111.1.36.42  356.81 ms  AS56041  中国 浙江 杭州 移动
21  112.17.0.106  343.92 ms  AS56041  中国 浙江 杭州 移动
[Info] 测试路由 到 浙江杭州移动 完成 !

dataline三网回程都走了CN2,而Rosetelecom和Fiord的电信回程走CN2

其他

总结就不用太多了,大家也可以从上面的测试中看到一些信息,以我本地来说的话,我觉得Dataline相对稳定,Adman也不差但是线路少许波动,Rosetelecom和Fiord国内访问效果一般。最后,大家要所有地区测试文件,或者IPv4、IPv6信息的话,可以在官方的LookingGlass页面查看:https://lg.justhost.ru

官方网站:www.justhost.ru

关于商家产品配置及价格介绍:Justhost接入支付宝/俄罗斯KVM月付11元起/四个机房/200M无限流量

29

评论 (0)

取消